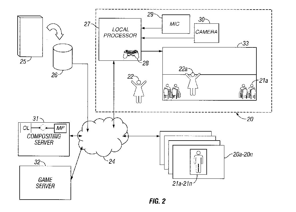
With the PlayStation 3 adding Netflix to the list of things it can do. A patent recently discovered shows that Sony Computer Entertainment America Inc. for a Mystery Science Theater 3000 style interactive TV. To quote from the story found at Siliconera.com “They recently filed a patent that mixes Netflix Party on Xbox Live and Mystery Science Theater 3000. The document actually mentions Mystery Science Theater 3000 as inspiration for the invention in the background section. Screen shots after the break.


